发烧论坛

注册

 

返回列表 «2021222324252627» / 171
发新话题 回复该主题

暴 力 强 拆(523楼已更新) 港 行 真 相(41楼跟... [复制链接]

查看: 641948|回复: 1705
231#

丹麦不但有丹那,还有安徒生,制假,贩假和少部份买假的正上演《皇帝的新衣》,精彩!
TOP
232#

国内音响市场上是否可能买到水货?不特指单拿,也可以是其它品牌,也不仅限于音箱。
TOP
233#

原帖由 zhx120 于 2011-5-11 0:38:00 发表
那就要看箱体上的铭牌了。但不同时间的货会有不同吗?


会有。一间企业运作几十年,企业CI会有微细调整。可口可乐商标就改过十多次。我们公司的商标也大改小改过好几次。大改大家都能分别,小改要我们自己才能分辨。具体什么时间改成怎样的商标,这个只有厂家自己最清楚。

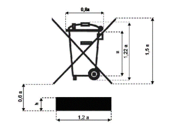
还有箱子背后的铭牌,也会有变化。因为美国和欧盟对电子产品的安全和环保标准逐年严格,有时候会要求加一些标识到铭牌上。今天有个做音响生意朋友给两个C4的铭牌给我看,新的那个铭牌多了一个垃圾桶标识,他以为是假的。我告诉他,新的铭牌上多的那个垃圾桶标识是欧盟废旧电气电子回收指令回收标志。2005年8月13日以后的电子产品上都要求增加这个垃圾桶标识。所以两个C4的铭牌虽然不同,但不能判断新的那个是假货。不过,可以据此判断老的那个的生产日期是2005年年中以前。

由上面的事情可以看出二手市场现在也是人心惶惶。普通人真是很难判别真假和是否有暗病。

上述的印刷问题,铭牌问题和安规问题我因为工作的关系就比较了解,可以给大家一个初略的讲解。其他的我就不懂。
9dfa10d9f110047ec8a89649ad225ec2.gif (, 下载次数:5)

gif(2011/5/11 1:12:21 上传)

9dfa10d9f110047ec8a89649ad225ec2.gif

逗你玩儿
TOP
234#

已经得益匪浅了,多谢楼上。
TOP
235#

笑了``````````````````国人真牛``仿得牛```
TOP
236#

怎么没有人谈声音有什么不同,声音是仿冒不了的,容易画虎不成反类犬
TOP
237#

富盛的意思很明显,现在国内热卖的港行是仿品。
但到底有没有香港销售的真品呢?
爵士机架 脚架 CD柜 扩散吸音 坛友特别优惠 https://js-jj.taobao.com/ 微信 15307005970
TOP
238#

看了半天,原来声音是没有差别的!
TOP
239#

前几年就听过在音箱厂做的朋友说,要什么牌子的高仿音箱,不用一天就可做出来。
TOP
240#

原帖由 ciscofan 于 2011-5-11 9:25:00 发表
富盛的意思很明显,现在国内热卖的港行是仿品。
但到底有没有香港销售的真品呢?

香港销售的有香港保修卡啊,没香港保修卡的怎么证明是香港销售的货呢?
天空不留痕迹,鸟儿却已飞过.
TOP
发新话题 回复该主题